GB/T 30544.14-2025 纳米科技 术语 第14部分:石墨炔
GB/T 30544.14-2025 Nanotechnologies—Vocabulary—Part 14:Graphdiyne
国家标准
中文简体
即将实施
页数:20页
|
格式:PDF
基本信息
标准号
GB/T 30544.14-2025
相关服务
仅限个人学习交流使用
标准类型
国家标准
标准状态
即将实施
中国标准分类号(CCS)
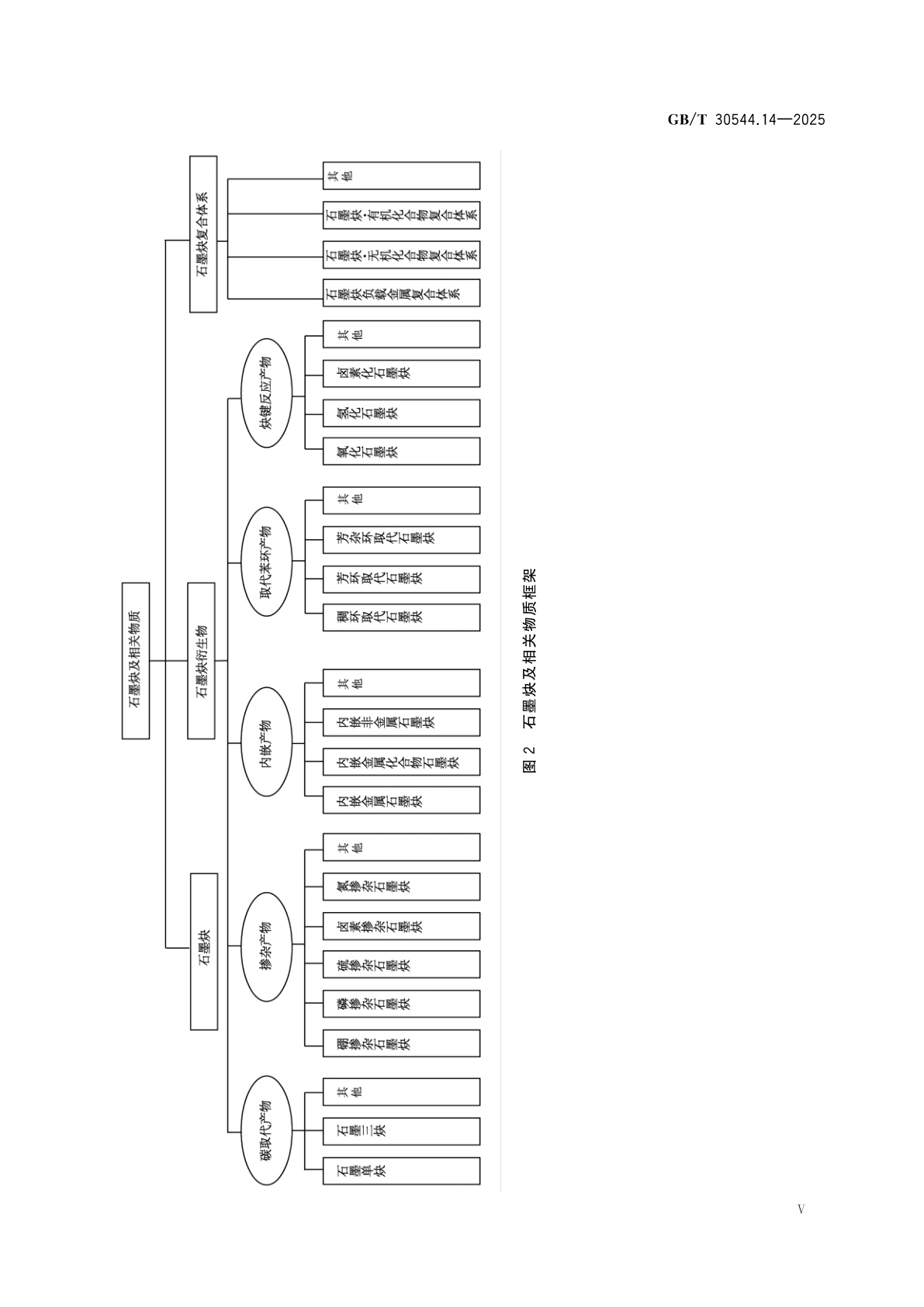
A20 纳米科技 术语 第14部分:石墨炔
国际标准分类号(ICS)
01.040.07
发布日期
2025-06-30
实施日期
2026-01-01
发布单位/组织
国家市场监督管理总局、国家标准化管理委员会
归口单位
全国纳米技术标准化技术委员会纳米材料分技术委员会(SAC/TC 279/SC 1)
适用范围
-
发布历史
-
2026-01
文前页预览
免费预览已结束,剩余部分可下载查看
研制信息
- 起草单位:
- 中国科学院化学研究所、北京市科学技术研究院、北京师范大学、冶金工业信息标准研究院
- 起草人:
- 刘伟丽、黄长水、毛兰群、刘辉彪、聂曼、田子健、李玉良
- 出版信息:
- 页数:20页 | 字数:27 千字 | 开本: 大16开
推荐标准
- GB/T 42117-2022 羊泰勒虫病诊断技术 2022-12-30
- GB/T 40402-2021 聚乙烯外护管预制保温复合塑料管 2021-08-20
- GB/T 25320.11-2023 电力系统管理及其信息交换 数据和通信安全 第11部分:XML文件的安全 2023-12-28
- GB/T 9728-2007 化学试剂 硫酸盐测定通用方法 2007-10-25
- GB/T 15725.5-1995 实验室玻璃仪器 蒸馏烧瓶和分馏烧瓶 1995-10-24
- GB/T 38499-2020 消毒剂稳定性评价方法 2020-03-06
- GB/T 38372-2020 企业品牌培育指南 2020-12-14
- GB/T 5275.2-2014 气体分析 动态体积法制备校准用混合气体 第2部分:容积泵 2014-07-08
- GB/T 44169-2024 民用大中型固定翼无人机系统地面站通用要求 2024-06-29
- GB/T 32881-2016 电子电气产品环境信息编制指南 2016-08-29
相似标准推荐
更多>- 1 LY/T 2537-2015 马缨杜鹃育苗技术规程
- 2 GB/T 19769.1-2015 功能块 第1部分:结构
- 3 GB/T 26921-2011 电机系统(风机、泵、空气压缩机)优化设计指南
- 4 GB/T 25902.1-2010 信息技术 通用多八位编码字符集 西双版纳新傣文32点阵字型 第1部分:赫罕白体
- 5 GB/T 9695.10-1988 肉与肉制品 六六六、滴滴涕残留量测定
- 6 GB/T 42800-2023 高纯不透明石英玻璃
- 7 GB/T 40495-2021 船舶和海上技术 船用起重设备可拆卸零部件 一般技术要求
- 8 YY/T 1465.4-2017 医疗器械免疫原性评价方法 第4部分:小鼠腹腔巨噬细胞吞噬鸡红细胞试验 半体内法
- 9 GB/T 39193-2020 环境空气 颗粒物质量浓度测定 重量法
- 10 GB/T 34971-2017 半导体制造用气体处理指南

关闭预览
