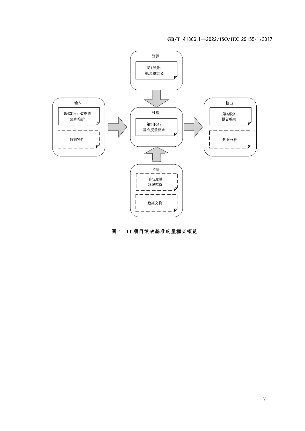
GB/T 41866.1-2022 系统与软件工程 信息技术项目绩效基准度量框架 第1部分:概念和定义
GB/T 41866.1-2022 Systems and software engineering—Information technology project performance benchmarking framework—Part 1:Concepts and definitions
国家标准
中文简体
现行
页数:24页
|
格式:PDF
基本信息
标准号
GB/T 41866.1-2022
相关服务
仅限个人学习交流使用
标准类型
国家标准
标准状态
现行
中国标准分类号(CCS)
L77 系统与软件工程 信息技术项目绩效基准度量框架 第1部分:概念和定义
国际标准分类号(ICS)
35.080
发布日期
2022-10-12
实施日期
2023-05-01
发布单位/组织
国家市场监督管理总局、国家标准化管理委员会
归口单位
全国信息技术标准化技术委员会(SAC/TC 28)
适用范围
-
发布历史
-
2023-05
文前页预览
免费预览已结束,剩余部分可下载查看
研制信息
- 起草单位:
- 中国电子技术标准化研究院、江苏赛西科技发展有限公司、山东山科数字经济研究院有限公司、深圳赛西信息技术有限公司、山东省计算中心(国家超级计算济南中心)、中国航天系统科学与工程研究院、成都淞幸科技有限责任公司、北京软件和信息服务交易所有限公司、韶关市智慧科技有限公司、北京中基数联科技有限公司、北京软件造价评估技术创新联盟、重庆市软件评测中心有限公司、厦门理工学院、无锡市信息化协会、中国司法大数据研究院有限公司、上海计算机软件技术开发中心
- 起草人:
- 于秀明、张旸旸、李文鹏、李刚、周鸣乐、吴春雷、郑旭飞、郭栋、刘魁、庄园、孙凤丽、丁晓明、张星星、李敏、孙金洋、李旺、李艳、王溪、于铁强、王海青、卢俊文、李勇、胡芸、陈广清、郭新伟、曹亮、许宗敏、孙荣荣
- 出版信息:
- 页数:24页 | 字数:40 千字 | 开本: 大16开
推荐标准
- GB/T 13748.15-2013 镁及镁合金化学分析方法 第15部分:锌含量的测定 2013-11-27
- GB/T 28774-2021 同步带传动 T型梯形齿同步带 2021-05-21
- LY/T 2387-2014 室内木质门安装与验收规范 2014-08-21
- GB/T 11322.1-1997 射频电缆 第0部分:详细规范设计指南 第一篇 同轴电缆 1997-10-13
- YY 1301-2016 激光治疗设备 铒激光治疗机 2016-03-23
- LY/T 3083-2018 C型竹筷加工机 2018-12-29
- GA/T 16.111-2015 道路交通管理信息代码 第111部分:交通违法文书签收标记代码 2015-10-22
- GB/T 37154-2018 燃料电池电动汽车 整车氢气排放测试方法 2018-12-28
- GB/T 23561.13-2010 煤和岩石物理力学性质测定方法 第13部分:煤和岩石点载荷强度指数测定方法 2010-09-26
- GB/T 37343-2019 海上导航和无线电通信设备及系统 桥楼航行值班报警系统(BNWAS) 2019-03-25
相似标准推荐
更多>- 1 XB/T 802.1-2015 废旧稀土回收处理 第1部分:废旧显示器中稀土的回收技术要求
- 2 GB/T 34851-2017 文房四宝 墨汁
- 3 GB/T 2614-2010 镍铬-镍硅热电偶丝
- 4 GB/T 1943-1991 木材横纹抗压弹性模量测定方法
- 5 GB/T 40390-2021 独立新风空调设备评价要求
- 6 YY/T 0134-1993 双锥形回转式真空干燥机
- 7 GB/T 15076.13-1994 钽铌化学分析方法 钽中氮量的测定
- 8 NY/T 5081-2002 无公害食品 菜豆生产技术规程
- 9 JJF 2255-2025 称重仪表物联网功能测量技术规范
- 10 GB/T 31776-2015 车用甲醇汽油中甲醇含量检测方法

关闭预览
